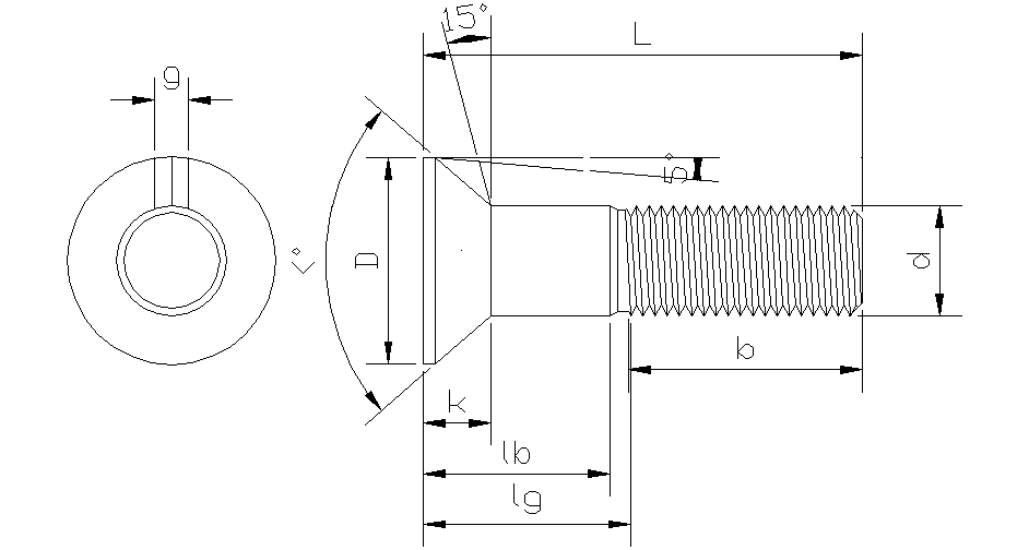
Countersunk screw Specifically designed whose characteristics are given by the customer. The design of the screw causes the head is not rotated and does not protrude from the surface where it is installed.


BREAKING HEAD
Rupture screw head is specially designed to head breaks when the force applied it reaches its specific point of torque. This screw can no longer be removed from the surface where it is applied.
Whatsapp Us